Structure Characteristics:
1. It is well adapted to the amount of condensation water, which can discharge water successively or continuously.
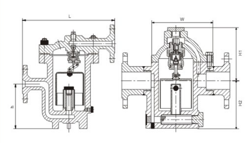
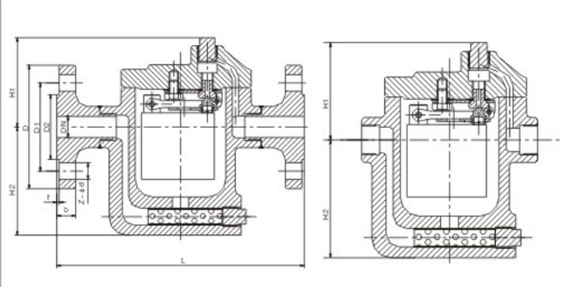
2. It is equipped with double seat differential pressure mechanism and SCCV closing system with small size and large capacity.
3. All the internal parts are made of stainless steel and are installed in the bonnet, which is convenient for installation and maintenance.
4. Its rate of back pressure is very high with 90%.
5. It is reliable to separate the steam and water. The water and steam goes into the valve bottom through the "U" type channel. The internal valve is under the water sealed status, which can prevent the leakage of steam.
6. The open type float is resistant to water hammer. There is overflowing air vent in the bucket, which can prevent the situations such as vapor lock and air block.







